Иностранные корни, предпусковой подогреватель и жесткий верх: мифы и факты про ГАЗ-69 - «ГАЗ»
Эту машину хорошо знают, помнят и даже ностальгически любят водители старшего поколения, многие из которых сегодня за руль уже не садятся. А вот более молодые автомобилисты с ГАЗ-69 «вживую» дела практически не имели, что и послужило причиной возникновения забавных мифов, связанных с историей разработки и конструктивными особенностями легендарного «козлика». Сегодня мы попробуем разобраться в наиболее интересных, но не бесспорных утверждениях про ГАЗ-69.
;
moevideoQueue.push(function () {
moevideo.ContentRoll({
mode:"manual",
el:"#adv",
floatWidth: "380",
floatPosition:"bottom right",
floatCloseTimeout: 10,
ignorePlayers: true,
maxRefresh: 10,
floatMode:"full"
});
});
—
миф']
Бытует мнение, что советские внедорожники создавались не просто с оглядкой на иностранные прототипы – инженеры наших заводов чуть ли не делали опытные образцы на чужой раме. В разговорах неизменно фигурируют американские джипы тех лет (Willys MB), а также Land Rover.
| Легендарный Виллис уместно сравнивать с ГАЗ-67, но не с «шестьдесят девятым», поскольку «козлик» больше, вместительнее и комфортабельнее |
| Британский внедорожник появился практически в то же время, что и «газик». Эти машины роднила скорее концепция, чем дизайн или техника |
Ошибочность такого мнения разбивается о документ, с которого на ГАЗе и занялись всерьез новой моделью. Ведь постановление Совета министров СССР №1118-325 и последовавший за ним приказ Министерства автомобильной и тракторной промышленности №34 предписывали горьковским инженерам создать новый автомобиль при значительной унификации с ГАЗ-20 «Победа», включая двигатель и многие узлы трансмиссии и ходовой части. По сути, рамный внедорожник должны были построить на компонентах легковушки — конечно, за исключением агрегатов полного привода.
| Нижнеклапанный двигатель от Победы благодаря двухступенчатой раздатке оказался подходящим агрегатом и для внедорожника |
Поэтому не только мотор с коробкой передач, но и рулевой механизм, амортизаторы, тормоза, оптика и аккумулятор для этой машины были взяты от серийных советских легковых автомобилей и грузовиков.
| Первые опытные образцы новой машины под названием «Труженик» были готовы уже к концу 1947 года | |
Более того, не наш "газик" имел иностранный прототип, а наоборот — автомобиль зарубежного производства был создан на базе ГАЗ-69! Ведь в 1957 году техническую документацию по ГАЗ-69 без приобретения лицензии передали в Румынию на завод IMM, а в 1962-м — в Северную Корею. Правда, в румынских внедорожниках стояло "чужое сердце" — бензиновый 50-сильный двигатель MAS.
Выпустив за два с небольшим года всего 2 000 экземпляров, румыны в 1959 году создали модернизированный автомобиль с индексом М59, отличавшийся от "козлика" четырехступенчатой коробкой передач и другими мостами. Еще спустя пять лет, в 1964-м, машина получила более мощный верхнеклапанный мотор. Интересно, что румынские нелицензионные копии даже конкурировали c советским исходником на некоторых внешних рынках, ведь ГАЗ-69 экспортировался в более 50 стран мира! ARO-M461 выпускался вплоть до 1975 года, на пару лет пережив свой оригинал из СССР.
| «Газик» можно было встретить в самых различных уголках земного шара |
МИФ 2: По проходимости "козлику" не было равных
—
правда
ГАЗ-69 был задуман как в качестве лёгкого транспорта для военнослужащих, так и для работников сельского хозяйства, геологов и государственных служащих, работающих в сельской местности. Не случайно ведь опытные образцы носили название «Труженик», которое на серийных автомобилях почему-то не прижилось. Вскоре после начала производства в 1953 году «целевая аудитория» смогла оценить внедорожный потенциал, который вызывал уважение у каждого, испытавшего небольшую машину в деле.
Несмотря на легковой силовой агрегат, «козлик» действительно мог преодолеть брод глубиной до 0,7 м, а также уверенно штурмовал тридцатиградусные подъемы и косогоры. Рецепт, как и в случае с ГАЗ-67, оказался прост до гениальности – большой дорожный просвет (210 мм), короткая база, привод на все колёса и практически отсутствующие свесы.
| Компоновка ГАЗ-69 была предельно утилитарной | |
Но так хорошо это заработало лишь в сочетании с удачной развесовкой и хорошо подобранными числами трансмиссии с двухступенчатой раздаточной коробкой, что позволяло не самой мощной машине буквально творить чудеса на бездорожье.
Причём «шестьдесят девятый» мог ехать по грунтовкам и пересечённой местности даже чуть быстрее, чем предшественник, а уровень комфорта (если это слово здесь применимо) был выше, чем в ГАЗ-67.
| Знай наших: в 1972 г. итальянец Луиджи Марторелли за рулём ГАЗ-69 занял первое место на ралли для полноприводных автомобилей! |
МИФ 3: Сначала ГАЗ-69 выпускался на ГАЗе в двухдверном варианте, а потом — только в пятидверном и в Ульяновске
—
миф
ГАЗ-69 изначально действительно был разработан с двухдверным восьмиместным кузовом, в котором водитель и пассажир сидели спереди, а шестеро остальных пассажиров — на продольных скамьях в задней части. В грузовом варианте (со сложенными скамейками) машина могла перевозить до 500 кг груза.
| Машина с индексом ГАЗ-69 могла перевезти до восьми человек, шестеро из которых располагались лицом к друг другу в задней части кузова |
Однако опытный образец более комфортабельного четырехдверного пятиместного варианта ГАЗ-69А (кузов 77) появился еще до проведения государственных испытаний "газика", проходивших с сентября по июнь 1951 года.
| Обратите внимание на боковые окна предсерийного ГАЗ-69А! |
| На фото: серийный ГАЗ-69А |
Машины отличались не только количеством дверей и мест, но и расположением запасного колеса. На грузопассажирской версии "запаска" была закреплена снаружи на левом борту позади двери водителя, а на пятидверке располагалась в багажнике. Также на ГАЗ-69А был один 60-литровый бак, а на двухдверном варианте — два бака (47 л и 28 л), причём дополнительный резервуар меньшей ёмкости находился под сиденьем переднего пассажира, а для заправки нужно было открыть правую дверь.
| Один автомобиль, но два разных кузова – на ГАЗе к решению непростой задачи подошли творчески |
| Запасное колесо у двухдверного варианта находилось снаружи кузова… |
| …а на четырехдверном ГАЗ-69А «запаска» переместилась в багажник |
| В советские времена двухдверный «газик» можно было встретить и в таком виде – без запасного колеса снаружи. Нередко «запаску» после прокола просто бросали внутрь кузова |
Серийное производство ГАЗ-69 и ГАЗ-69А в Горьком началось в августе 1953 года, причем практически одновременно (в 1954-м) выпуск этих автомобилей был налажен и в Ульяновске — на бывшем заводе УльЗИС, переименованном в УАЗ. Сначала здесь собирали автомобили из машинокомплектов, изготовленных на Горьковском заводе, но постепенно выпуск деталей наладили и в Ульяновске.
| ГАЗ-69 выпускался на двух заводах, но под одним индексом |
На ГАЗе внедорожники производили до 1956 года, после чего их выпуск полностью перевели на УАЗ, где вплоть до 1973 года выпускалось всё семейство — как двухдверный "военный" вариант, так и пятиместный ГАЗ-69А. Таким образом, и ГАЗ-69, и его "гражданская" версия некоторое время одновременно выпускались на двух заводах.
МИФ 4: Своё прозвище ГАЗ-69 получил из-за особенностей конструкции
—
правда
Чтобы выдерживать вся тяготы и лишения, связанные с воинской «службой» и ездой по раскисшим сельским грунтовкам, ГАЗ-69 оснастили простой и прочной рессорной подвеской как спереди, так и сзади. Листовые рессоры позволяли компактной машине с длиной кузова менее четырех метров перевозить восемь человек или до полутонны груза, а также буксировать прицеп с полной массой 850 кг. И как оказалось на практике, подвеска с честью выдерживала подобные нагрузки.
| Прочная рама и продольные рессоры – вот залог выносливости «шестьдесят девятого». Один из «побочных эффектов» — склонность автомобиля к продольной раскачке |
Однако машина со снаряженной массой 1 525 кг без полной загрузки при этом буквально прыгала на неровностях – как говорили шофёры тех лет, «козлила». Из-за такого своеобразного поведения автомобиль быстро прозвали «козликом».
| К «козлению» машины и военные, и гражданские шофёры быстро привыкли |
Удачное «говорящее» прозвище настолько подошло ульяновскому внедорожнику, что следующую модель (УАЗ-469) также называли похоже, хоть и более грубо – «козёл». Ведь «четыреста шестьдесят девятый», сохранив повадки первого «козлика», был крупнее предшественника.
МИФ 5: ГАЗ-69 за время выпуска практически не модернизировали
—
миф
Из-за того, что внешне этот автомобиль практически не менялся, многие шофёры считали, что за все 20 лет выпуска ГАЗ-69 не подвергался каким-либо модернизациям. На самом же деле еще в шестидесятые годы было доработано рулевое управление и изменён привод стояночного тормоза. А в 1970-м обе модификации получили новые ведущие мосты, взятые от «буханки» УАЗ-452. Они отличались четырёхсателлитным дифференциалом, что повысило надёжность. На переднем мосту также появились муфты отключения ступиц, по которым ГАЗ-69-68 можно отличить от первой версии «газика». Еще один визуальный признак – дополнительные стёкла в тенте.
| Машины последних лет выпуска легко отличить по выступающим муфтам передних ступиц и увеличенной площади остекления | |
| На ранних ГАЗ-69 заднее стекло было совсем маленьким |
В таком виде внедорожники выпускались в Ульяновске до конца 1972 года, после чего «козлик» уступил место на конвейере более современному «уазику» с индексом 469.
МИФ 6: Эта машина серийно оснащалась предпусковым подогревателем
—
правда
В середине прошлого века в систему охлаждения заливали обычную водопроводную воду. Зимой водители были вынуждены сливать её на ночь, чтобы не «разморозить» блок. Поэтому каждое утро повторялась одна и та же процедура — как говорили в те времена, двигатель «проливали кипятком», повышая его температуру относительно окружающей среды.
Чтобы облегчить запуск двигателя в мороз, конструкторы предусмотрели предпусковой подогреватель, который грел как стенки цилиндров, так и масло в поддоне.
| Просто долей воды и включи паяльную лампу: нехитрое устройство советской «вебасты» не мешало подогревателю отлично выполнять своё предназначение! |
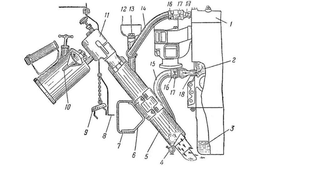
Для подогрева "сухого" двигателя с незаполненной системой охлаждения в котёл подогревателя заливали 4-5 литров воды и вставляли в трубу работающую паяльную лампу. При нагреве вода вместе с паром попадала в водяную рубашку блока, отдавая ей тепло. Горячие газы, выходящие из специального раструба подогревателя, разогревали масло в поддоне картера, а часть из них поднималась вверх, грея впускной коллектор и карбюратор.
| Схема работы пускового подогревателя |
При работе подогревателя двигатель мог нагреться до 30-40 градусов, что сильно упрощало задачу водителю. Ведь не будем забывать о том, что пусковые свойства двигателей тех лет были далеки от современных, а даже несильный износ поршневой группы ухудшал их еще больше.
Таким же предпусковым подогревателем оснащался и грузовой автомобиль ГАЗ-51А.
МИФ7: Существовал заводской вариант закрытого цельнометаллического кузова
—
миф
В советское время на улицах можно было увидеть "газик" с закрытым кузовом, на котором брезентовый верх был заменён металлической крышей. Многие автомобилисты считали, что такие автомобили производились малыми партиями на Ульяновском заводе.
| «Жесткий тент» завода ЧЗСА — не самый худший вариант металлической крыши, но такой же незаводской, как и все остальные | |
Действительно, брезентовый тент не отличался особой долговечностью, а также был не слишком практичен зимой.
| В таком виде, исходя из условий климата, на ГАЗ-69 ездили разве что летом. И то не везде. | |
| Чтобы видели: в мае 1966 года советский лётчик-космонавт Юрий Алексеевич Гагарин посетил г. Людиново, прокатившись по его улочкам в ГАЗ-69А со снятым верхом! |
Именно поэтому многие организации хотели получить закрытый, а не открытый вариант машины. На существующий спрос ответили своим предложением многочисленные авторемонтные заводы, которые в полукустарных условиях наладили переделку открытых "козликов" в автомобили с так называемым жестким верхом. В большинстве своём эти конструкции не имели какого-то обозначения и выглядели довольно неприглядно.
| Согласитесь, такая цельнометаллическая крыша вряд ли прибавляла привлекательности «газику» |
Впрочем, с закрытым кузовом экспериментировали и на самом заводе — но не на УАЗе, а в Горьком. Еще в 1955 году был разработан опытный образец ГАЗ-19 — автомобиля на базе "шестьдесят девятого", отличавшегося от стандартного внедорожника неведущим передним мостом, а также цельнометаллическим кузовом с жесткой крышей.
Такая версия задумывалась для перевозки почты, которая могла пострадать от воздействия влаги. Но уже со следующего года производство «шестьдесят девятого» на ГАЗе прекратили, а в Ульяновске вместо "газика" с металлической крышей наладили выпуск фургона вагонной компоновки — легендарной «буханки» (ССЫЛКА НА АРБУЗОВА), пребывающей в добром здравии и на конвейере до наших дней!
Таким образом, в заводском исполнении ГАЗ-69 и ГАЗ-69А существовали лишь с открытым кузовом и брезентовым верхом.
И будьте в курсе первыми!
avtoshop-ekb.ru

















































